OEM 2,4 mm RF koaksialt stik Supplier

Ningbo Hanson Communication Technology Co., Ltd. Hjem / Produkter / RF koaksialt stik / 2,4 mm RF koaksialt stik

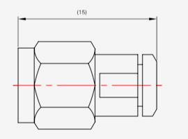
2,4 mm RF koaksialt stik

Beskrivelse:

2,4 mm-seriens stik er et højfrekvent RF-stik designet til højpræcision, højfrekvente applikationer, især til signaltransmissionsbegivenheder, der kræver et transmissionsfrekvensområde på 40 GHz eller endnu højere. Det er et ideelt valg til at levere højtydende signalforbindelser i mikrobølgefrekvensbåndet, højhastighedskommunikation og præcisionstest- og målefelter.

Parameter:

Vigtigste tekniske specifikationer:
◆ Karakteristisk impedans: 50Ω
◆ Frekvensområde: DC-50GHz
◆ Isolationsmodstand: ≥5000MΩ
◆ Dielektrisk modstå spænding: 500V(rms)
◆ Spændings stående bølgeforhold (VSWR): ≤1,35
◆ Parringscyklusser: 500 gange

Spørge

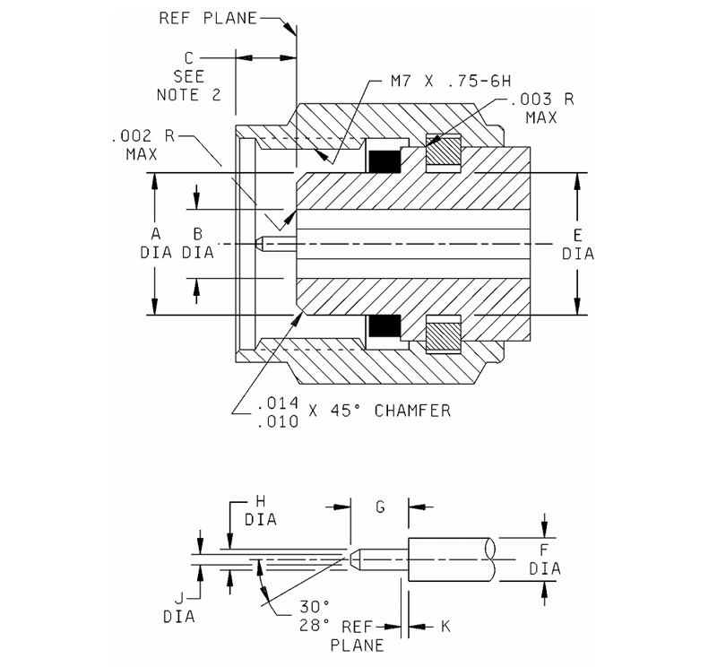
Bogstav Millimeter (tommer)
Minimum Maksimum
EN 4.725 (.186) 4,75(.187)
B 2.393 (.094) 2.408(095)
C 1,85 (0,073) 2,45 (0,096)
E 4,75(.187) 4,85(.191)
F 1.035(.0407) 1,05 (0,0413)
G 1,34 (0,053) 1,45 (0,057)
H 0,498(.0196) 0,523 (0,0206)
J ---------- 0,25(.010)
K 0,00 (0,000) 0,08 (0,003)

Bemærkninger:
1. Gevindlængden er fra enden af ​​koblingsmøtrikken, minimum 4,37 mm (0,172 tomme), 0,63 mm (0,025 tomme)±0,25 mm (0,010 tomme).
2. Med koblingsmøtrik spændt fremad.
3. Dimensioner er i millimeter.
4. Inch-pund-ækvivalenter er kun givet til orientering.
5. Modboring minimum 7 mm (0,276 tomme).

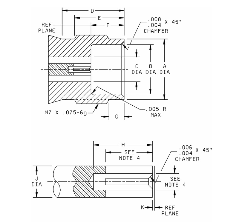
Bogstav Millimeter (tommer)
Minimum Maksimum
EN 4.725 (.186) 4,75 (187)
B 2.393 (.094) 2.408 (.095)
C 1,85 (0,073) 2,45 (0,096)
E 4,75(.187) 4,85 (.191)
F 1.035(.0407) 1,05 (0,0413)
G 1,34 (0,053) 1,45 (0,057)
H 0,498 (0,0196) 0,523(.0206)
J -------- 0,25 (0,010)
K 0,00(0,000) 0,08 (0,003)

Bemærkninger:
1. Gevindlængden er fra enden af ​​koblingsmøtrikken, minimum 4,37 mm (0,172 tomme), 0,63 mm (0,025 tomme)±0,25 mm (0,010 tomme).
2. Med koblingsmøtrik spændt fremad.
3. Dimensioner er i millimeter.
4. Inch-pund-ækvivalenter er kun givet til orientering.
5. Modboring minimum 7 mm (0,276 tomme).

2,4 mm SERIES
  • 2.4-JB2
    2.4-JB2
    Model Kabeltype
    2.4-JB2 SFT-50-2,670-086
  • 2,4-J125
    2,4-J125
    Model Kabeltype
    2,4-J125 125
  • 2,4-J230
    2,4-J230
    Model Kabeltype
    2,4-J230 MILFLEX230

HOLD KONTAKT

INDSEND
Om os
Ningbo Hanson Communication Technology Co., Ltd.
Ningbo Hanson Communication Technology Co., Ltd.
Ningbo Hanson Communication Technology Co., Ltd. is China 2,4 mm RF koaksialt stik Supplier and Custom 2,4 mm RF koaksialt stik Company. We are a manufacturer specializing in the production, processing, and trade of communication components, with more than 30 years of experience in RF coaxial connectors, adapters, and cable assemblies. Virksomheden har nu udviklet sit eget bearbejdningsværksted, galvaniseringsværksted, montageværksted og en gruppe af stabile og pålidelige leverandører. Selskabets formål er at give kunderne produkter af høj kvalitet. De vigtigste produkter er RF-koaksiale stik, adaptere, højfrekvente kabelsamlinger og kabelsamlinger med lav intermodulation. Derudover kan virksomheden også levere ydelser til kunder med skræddersyede behov for at imødekomme kundernes særlige krav til produkter. Virksomhedens produkter er meget udbredt inden for rumfart, kommunikationsbasestationer, medicinsk udstyr og andre højteknologiske områder. På tidspunktet for virksomhedsreform, innovation, udvikling og vækst tog virksomheden initiativet til at tilslutte sig det internationale kvalitetsstyringssystem ISO9001 og forbedrede løbende ledelsesniveauet for at levere mere tilfredsstillende produkter og tjenester til nye og gamle kunder.
Seneste nyheder
Leder du efter forretningsmulighed?

Anmod om et opkald i dag